您好,欢迎来到西安华仪智能科技有限公司!
服务热线:15291197813

产品中心 户外负荷开关 FZW32-12系列户外高压隔离真空负荷开关

FZW32-12系列户外高压隔离真空负荷开关

一、概述


户外高压真空负荷开关是综合国内现有开关生产的成熟经验及国外先进技术设计制造的新型负荷开关。本负荷开关由隔离闸刀、真空灭弧室及操作机构等部件组成。采用真空灭弧室原理,具有灭弧能力强,性能可靠,寿命长,体积小,无爆炸危险,不污染等优点。配套相应的真空负荷开关可用于电力、冶金、矿山、化工等部门的输配电系统中,作控制设备用,特别适合需频繁操作的场所。

二、使用环境条件


周围空气温度:上限+4 0℃ 下限-30℃, 日温差不超过32K;
海拔不超过2000m;
风压不超过700Pa(相当于风速34s);
空气污秽程度:按GB5585之4.2条中规定的Ⅳ级;
地震烈度不超过8度;
覆冰厚度不超过10mm。

三、型号及含义


四、主要技术参数


 

序号
项目
单位
参数
1
额定电压
KV
12
2
额定频率
Hz
50
3
额定电流
A
630
4
额定有功负载开断电流
A
630
5
额定闭环开断电流
A
630
6
5%额定有功负载开断电流
A
31.5
7
额定电缆充电开断电流
A
10
8
额定空载变压器开断容量
KVA
1600
9
额定开断电容器组电流
A
100
10
1min工频耐受电压:真空断口、相间、相对地/隔离断口
KV
42/48
11
雷电冲击耐受电压:相间、相对地/隔离断口
KV
75/85
12
额定短时耐受电流(热稳定)
KA
20
13
额定短路持续时间
S
4
14
额定峰值耐受电流(动稳定)
KA
50
15
额定短路关合电流
KA
50
16
机械寿命
10000
17
真空灭弧触头允许磨损厚度
mm
1
18
手动操作力矩
N.m
≤200
19
负荷开关真空灭弧室装配调整
触头开距
mm
5±1
平均分闸速度
m/s
1.1±0.2
三相分闸不同期
ms
<5
三相合闸不同期
ms
<2
带电体之间及相对地距离
mm
>200
主回路电阻
μΩ
≤150

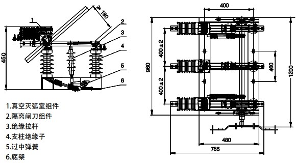
五、产品主体机构图



Copyright © 2018 西安华仪智能科技有限公司 版权所有 All Right Reserved.

陕ICP备18009713号-1

电话:029-86117354   手机:15291197813   网址:http://www.huayizn.com
地址:陕西省西安市未央区未央路首座大厦1幢1单元1203室
微信
官方公众号
友情链接: 组合式变压器系列 高压电缆分支箱系列 环网柜开关系列